ارسل لنا عبر البريد الإلكتروني
منتجات
صمام الملف اللولبي 3V2 3 اتجاهات
  • صمام الملف اللولبي 3V2 3 اتجاهاتصمام الملف اللولبي 3V2 3 اتجاهات
  • صمام الملف اللولبي 3V2 3 اتجاهاتصمام الملف اللولبي 3V2 3 اتجاهات

صمام الملف اللولبي 3V2 3 اتجاهات

فيما يلي مقدمة لصمام الملف اللولبي 3V2 ثلاثي الاتجاه، وتأمل OLK أن تساعدك على فهم صمام الملف اللولبي 3V2 ثلاثي الاتجاه بشكل أفضل. نرحب بالعملاء الجدد والقدامى لمواصلة التعاون معنا لخلق مستقبل أفضل معًا!

صمام الملف اللولبي 3V2 صغير وخفيف وسهل التركيب. جسمه مصنوع من الألومنيوم القوي الذي يقاوم الصدأ والتلف. يستخدم الصمام ملفًا لولبيًا موثوقًا به مع خيارات الطاقة DC12V، DC24V، AC110V، أو AC220V.

يعمل صمام الملف اللولبي 3V2 من ماركة OLK بشكل جيد للتحكم في الهواء متوسط ​​التدفق. إنه يتحول بسرعة، ويستخدم القليل من الطاقة، ويستمر لفترة طويلة. يمكن أن يكون مغلقًا عادةً (NC)، أو مفتوحًا (NO)، أو ملفًا لولبيًا مزدوجًا. يتم استخدامه غالبًا في خطوط التشغيل الآلي وآلات التعبئة والتغليف وآلات الطباعة وآلات الأغذية. حجمها الصغير يجعلها مثالية للمساحات الضيقة.

س: ما هي المنتجات التي يمكن استبدالها بـ OLK 3V2؟

1. هيكل التمثيل المباشر مع التبديل الحساس.

2. تتوفر أنواع مغلقة عادة (NC) ومفتوحة عادة (NO).

3. تصميم الإغلاق المحوري لختم جيد وتدفق كبير.

4. لا حاجة للتشحيم.

5. مجهزة بتجاوز يدوي لسهولة التركيب والاختبار.

6. تتوفر خيارات الجهد القياسية المتعددة.

رمز صمام 3V2 :

رمز الطلب

3V

2

-

08

نورث كارولاينا

A

 

 

 

نموذج

شفرة

 

 حجم المنفذ

نوع التمثيل

الجهد القياسي

دخول كهربائي

نوع الخيط

 

3 فولت: 2 وضعية 3 اتجاهات

سلسلة 2:2

 

06:G1/8

NC: مغلق عادة

ج: تيار متردد 220 فولت

فارغ: نوعك

ب: تيار مستمر 24 فولت

 

 

 

 

08:G1/4

لا: مفتوح عادة

ب: تيار مستمر 24 فولت

ضغط العمل

ت: معاهدة حظر الانتشار النووي

 

 

 

 

 

 

ج: تيار متردد 110 فولت

 

 

 

 

 

 

 

 

ه: تيار متردد 24 فولت

 

 

 

 

 

 

 

 

ف: تيار مستمر 12 فولت

 

 

 


نموذج

3V206

3V208

وسيلة العمل

الهواء (المفلتر بواسطة مرشح 40 ميكرومتر أو أعلى)

الهواء (المفلتر بواسطة مرشح 40 ميكرومتر أو أعلى)

نوع التمثيل

التمثيل المباشر

حجم المنفذ

G1/8

جي1/4

الموقف والطريقة

2 الموضع 3 اتجاهات

المنطقة الفعالة

3.2 ملم² (السيرة الذاتية = 0.18)

3.4 ملم² (السيرة الذاتية = 0.19)

تشحيم

غير مطلوب

نطاق ضغط التشغيل

0 ~ 0.8 ميجا باسكال (0 ~ 114 رطل لكل بوصة مربعة)

ضغط إثبات

1.5 ميجا باسكال (215 رطل لكل بوصة مربعة)

درجة حرارة التشغيل (°C)

-20 ~ 70

مادة الجسم

سبائك الألومنيوم

 

الجهد القياسي

تيار متردد 220 فولت تيار متردد 110 تيار متردد 24 فولت تيار مستمر 24 فولت تيار مستمر 12 فولت

نطاق الجهد

التيار المتردد: ± 15% تيار مستمر: ± 10%

استهلاك الطاقة

التيار المتناوب: 7 فولت أمبير تيار مستمر: 7.0 واط

فئة الحماية

IP65 (دين40050)

درجة العزل

المستوى ب

نوع الاتصال

نوع قابس DIN/نوع الخط

الحد الأدنى لوقت الإثارة

0.05 ثانية


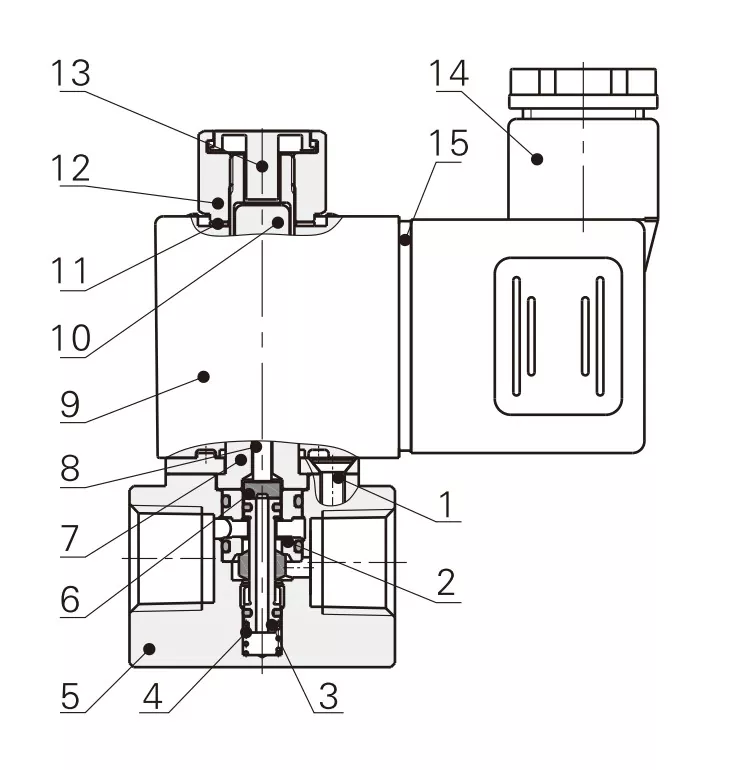
لا.

اسم

1

برغي غاطس

2

كم فاصل

3

الجمعية الأساسية

4

ربيع

5

جسم

6

طوقا

7

تجميع الملف اللولبي

8

قضيب الغطاس

9

لفائف

10

تحريك قلب الحديد

11

غسالة ثابتة

12

الجوز الثابت

13

زر يدوي

14

صالة

15

طوقا المحطة


غرض

3V1-M5/3V1-06

2V025-06/2V025-08

3V2-06/3V2-08

3V3-08

وسيلة العمل

هواء

الهواء والماء والنفط

هواء

هواء

الحالة الأولية:

نورث كارولاينا

نك/لا

لا/NC

لا/NC

نوع التشغيل

التمثيل المباشر

التمثيل المباشر

التمثيل المباشر

التمثيل المباشر

حجم المنفذ

م5;G1/8

G1/8;G1/4

G1/8;G1/4

جي1/4

الموقف والطريقة

3 منفذ 2 موقف

2 منفذ 2 موقف

3 منفذ 2 موقف

3 منفذ 2 موقف

تشحيم

غير مطلوب

غير مطلوب

غير مطلوب

غير مطلوب

ضغط العمل

0-0.7 ميجا باسكال

0-0.7 ميجا باسكال

0-0.8 ميجا باسكال

0-0.8 ميجا باسكال

ضغط إثبات

1.2 ميجا باسكال

1.5 ميجا باسكال

1.2 ميجا باسكال

1.2 ميجا باسكال

حجم الفتحة

φ1.2 ملم

φ2.5 ملم

Φ3.2 مم/φ3.4 مم

Φ11 ملم (تدفق هواء كبير)


الأسئلة الشائعة:

س: ما هو الفرق الرئيسي بين صمام الملف اللولبي 3V2 و 3V3؟

ج: 3V2: التدفق الأوسط، مناسب لنظام التحكم الهوائي الصغير

3V3: تدفق عالي، مناسب لأسطوانات متعددة أو تطبيقات عالية التدفق.

اختلاف الهيكل: 3V3 له جسم أكبر ويمكنه التعامل مع الضغط والتدفق العالي.


س: ما هو حجم فتحة صمام الملف اللولبي 3V2؟

A: حجم فتحة الصمام 3V2-06 هو 3.2 مم؛ حجم فتحة الصمام 3V2-06 هو 3.4 مم


س: ما هي المنتجات التي يمكن استبدالها بـ OLK 3V2؟

ج: يمكن لـ OLK 3V2 استبدال صمامات الملف اللولبي من سلسلة AIRTAC 3V2 بنفس الوظيفة والمواصفات المماثلة.


الكلمات الساخنة: 3V2 صمام الملف اللولبي 3 الطريق، الصين، الشركة المصنعة، المورد، المصنع
إرسال استفسار
معلومات الاتصال
  • عنوان

    طريق Zhengtai، منطقة Xinguang الصناعية، Liushi، Yueqing، Wenzhou، Zhejiang، الصين.

  • بريد إلكتروني

    cici@olkptc.com

أهلا في موقعنا! للاستفسارات حول منتجاتنا أو قائمة الأسعار، يرجى ترك البريد الإلكتروني الخاص بك لنا وسنكون على اتصال خلال 24 ساعة.
بريد إلكتروني
cici@olkptc.com
هاتف
86-0577 57178620
متحرك
+86-13736765213
عنوان
طريق Zhengtai، منطقة Xinguang الصناعية، Liushi، Yueqing، Wenzhou، Zhejiang، الصين.
X
نحن نستخدم ملفات تعريف الارتباط لنقدم لك تجربة تصفح أفضل، وتحليل حركة مرور الموقع، وتخصيص المحتوى. باستخدام هذا الموقع، فإنك توافق على استخدامنا لملفات تعريف الارتباط. سياسة الخصوصية
يرفض يقبل